發布日期:2024-11-15 閱讀量:742
氣相液氮罐的組成部分是一個關鍵的方面,對于其有效存儲和運輸液氮至關重要。這些罐子主要由幾個核心部分構成,包括內膽、外殼、絕熱層、氣體回流管以及安全閥。這些組件共同作用,以確保液氮在低溫下的穩定性和安全性。
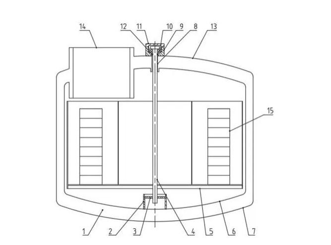
1、氣相液氮罐,2、支撐座,3、支撐套,4、旋軸軸,5、轉盤,6、內膽,7、外殼,8、真空絕熱套,9、軸承座,10、軸承,11、密封蓋,12、密封圈,13、外上封頭,14、頸管口,15、凍存架。
內膽
氣相液氮罐的內膽是其核心部分,負責直接接觸液氮并承受其低溫。內膽通常由高強度不銹鋼或鋁合金制成,以保證在極低溫度下的耐用性。常見的內膽直徑范圍為15到30厘米,高度從30到70厘米不等,這取決于液氮罐的容量。為了保持液氮的低溫,內膽通常會設計成雙層結構,內部通過焊接固定,外部則提供額外的強度和穩定性。
外殼
外殼是液氮罐的保護層,通常由更厚的金屬材料制成,如鋼或鋁。這一部分的主要功能是保護內膽,抵御外界的物理沖擊和環境因素。外殼的厚度通常在2到5毫米之間,以提供足夠的強度和耐久性。外殼的設計也考慮了散熱問題,確保液氮罐在長時間使用中的穩定性。
絕熱層
絕熱層是氣相液氮罐中至關重要的部分,用于防止液氮因熱量傳遞而蒸發。絕熱層一般由真空隔熱材料或高效的絕熱材料(如玻璃棉或聚氨酯泡沫)構成。真空隔熱層的設計通常是在內膽和外殼之間形成一個高真空環境,這樣可以大大降低熱傳導。絕熱層的厚度和材料選擇直接影響氣相液氮罐的保溫性能,通常在10到20厘米之間,具體取決于液氮罐的尺寸和用途。
氣體回流管
氣體回流管的主要作用是允許氣體從罐內釋放出來,以保持罐內的壓力平衡。這些管道通常采用耐低溫的材料制成,如不銹鋼或鍍鎳銅,確保在低溫環境下的可靠性和穩定性。回流管的設計包括一個控制閥門,用于調節氣體釋放的速度和量,從而避免過度的壓力積累。
安全閥
安全閥是液氮罐中不可或缺的安全組件,用于防止罐內壓力超過設計極限。安全閥通常安裝在罐體的部或側面,其工作原理是當罐內壓力達到設定值時自動開啟,釋放多余的氣體。常見的安全閥設定壓力范圍在0.5到2巴之間,具體參數取決于液氮罐的設計和應用需求。安全閥的定期檢查和維護對于確保罐體的安全運行至關重要。
操作注意事項
在使用氣相液氮罐時,需要特別注意幾個操作細節。首先,液氮罐應置于通風良好的地方,以防止氣體積聚引發危險。其次,操作人員需穿戴適當的防護裝備,如耐低溫手套和護目鏡,避免與液氮直接接觸。每次使用后,液氮罐應進行檢查,確保所有組件正常運作,特別是安全閥和回流管的狀態。
通過對氣相液氮罐組成部分的詳細了解,可以更好地操作和維護這些設備,以確保其在液氮存儲和運輸中的高效性和安全性。
上一條:自增壓液氮罐壓力是多少公斤
下一條:液氮真空軟管失去真空會怎樣

